首页
专利数据库
产业人才
行业动态
产业政策法规
维权援助
个人中心
登录/注册
详情
文本
图像
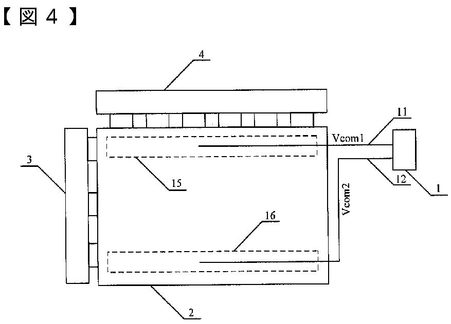
标题:
共通電極駆動回路と液晶ディスプレー
授权日:
2015-04-10
公开(公告)号:
JP5727153B2
申请日:
2010-03-25
公开(公告)日:
2015-06-03
当前申请(专利权)人:
北京京東方光電科技有限公司
发明人:
肖 向春
简单同族:
CN101847376A | CN101847376B | JP2010231205A | JP2010231205A5 | JP5727153B2 | KR101154491B1 | KR101233710B1 | KR1020100107422A | KR1020120031197A | US20100245326A1 | US8878829
简单同族成员数量:
11
简单同族被引用专利总数:
53
诉讼案件数:
0
法律状态/事件:
授权