首页
专利数据库
产业人才
行业动态
产业政策法规
维权援助
个人中心
登录/注册
详情
文本
图像
标题:
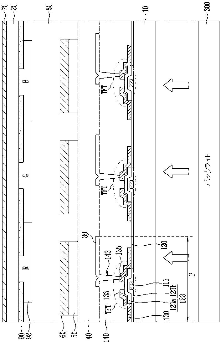
タッチスクリーンパネル一体型液晶表示装置
授权日:
1900-01-01
公开(公告)号:
JP2012103658A
申请日:
2011-01-14
公开(公告)日:
2012-05-31
当前申请(专利权)人:
三星モバイルディスプレイ株式會社
发明人:
宋 成 勳 | 全 相 ▲げん▼
简单同族:
JP2012103658A | KR101799029B1 | KR1020120049428A | US20120113027A1 | US9348448
简单同族成员数量:
5
简单同族被引用专利总数:
63
诉讼案件数:
0
法律状态/事件:
驳回 | 权利转移