首页
专利数据库
产业人才
行业动态
产业政策法规
维权援助
个人中心
登录/注册
详情
文本
图像
标题:
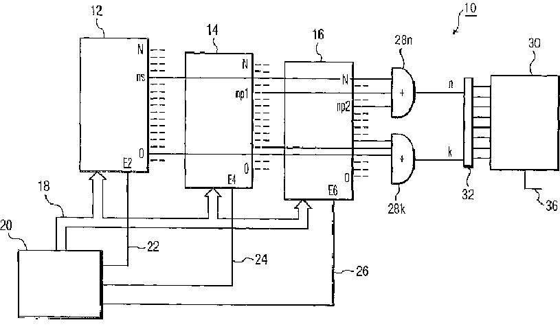
液晶ディスプレイ用の行アドレス指定回路
授权日:
1900-01-01
公开(公告)号:
JP2004538524A
申请日:
2002-07-31
公开(公告)日:
2004-12-24
当前申请(专利权)人:
コーニンクレッカ フィリップス エレクトロニクス エヌ ヴィ
发明人:
ヤッセン,ピーター | オーブ,ルシアン,アール
简单同族:
CN1539134A | EP1417673A2 | JP2004538524A | KR1020040030873A | TW563087B | US20030025665A1 | US6738036 | WO2003015069A2 | WO2003015069A3
简单同族成员数量:
9
简单同族被引用专利总数:
49
诉讼案件数:
0
法律状态/事件:
撤回