首页
专利数据库
产业人才
行业动态
产业政策法规
维权援助
个人中心
登录/注册
详情
文本
图像
标题:
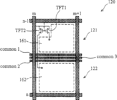
液晶显示面板及改善液晶显示装置效能方法
授权日:
1900-01-01
公开(公告)号:
CN101017303A
申请日:
2007-03-09
公开(公告)日:
2007-08-15
当前申请(专利权)人:
友达光电股份有限公司
发明人:
苏振嘉
简单同族:
CN100465744C | CN101017303A | JP2007286624A | JP5026847B2 | TW200741626A | TWI336872B | US20070242009A1 | US7589703
简单同族成员数量:
8
简单同族被引用专利总数:
49
诉讼案件数:
0
法律状态/事件:
授权