首页
专利数据库
产业人才
行业动态
产业政策法规
维权援助
个人中心
登录/注册
详情
文本
图像
标题:
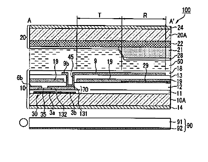
液晶表示装置及び電子機器
授权日:
1900-01-01
公开(公告)号:
JP2007047732A
申请日:
2006-01-25
公开(公告)日:
2007-02-22
当前申请(专利权)人:
エプソンイメージングデバイス株式会社
发明人:
土屋 仁 | 松島 寿治
简单同族:
DE602006012587D1 | EP1744204A1 | EP1744204B1 | JP2007047732A | JP2007047732A5 | JP4039444B2 | KR100760745B1 | KR1020070009475A | TW200706980A | TWI346229B | US20070013773A1 | US7602463
简单同族成员数量:
12
简单同族被引用专利总数:
84
诉讼案件数:
0
法律状态/事件:
未缴年费 | 权利转移