首页
专利数据库
产业人才
行业动态
产业政策法规
维权援助
个人中心
登录/注册
详情
文本
图像
标题:
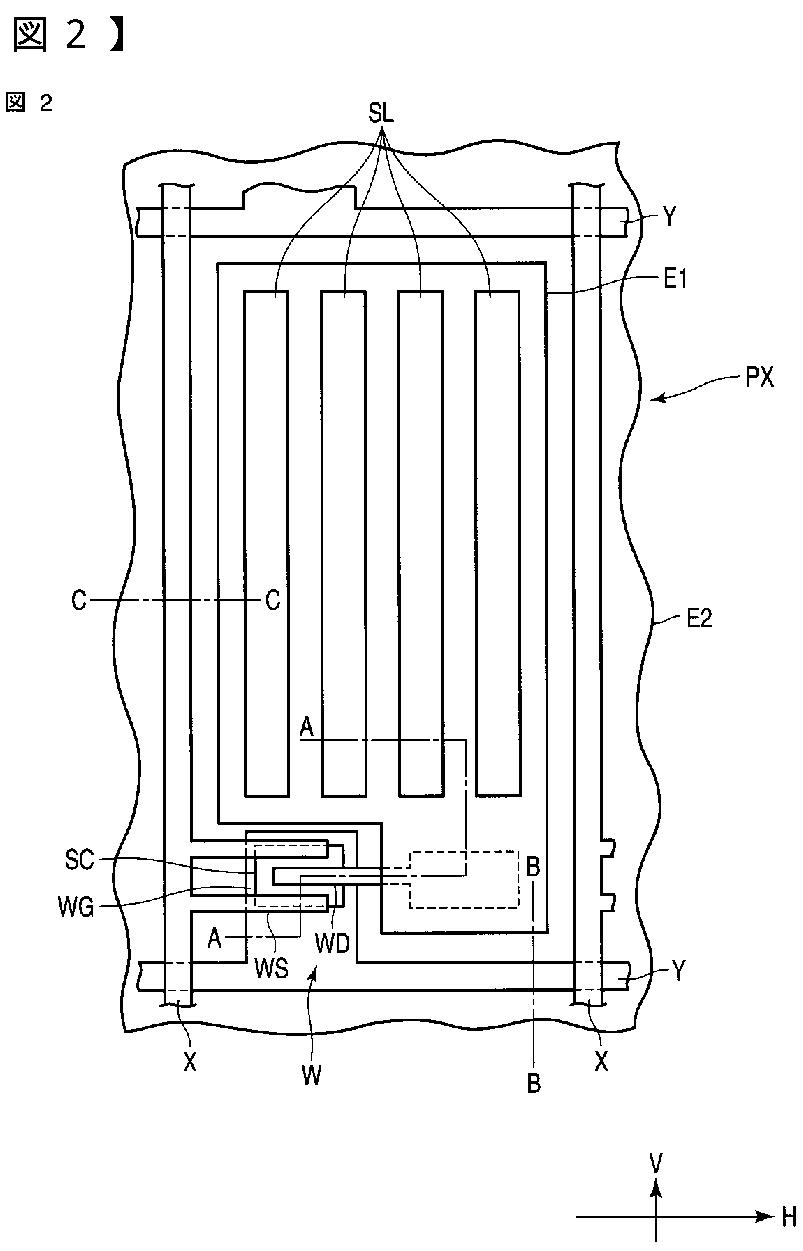
液晶表示装置
授权日:
2013-01-11
公开(公告)号:
JP5172508B2
申请日:
2008-07-09
公开(公告)日:
2013-03-27
当前申请(专利权)人:
株式会社ジャパンディスプレイセントラル
发明人:
藤本 貴光 | 森田 伸
简单同族:
JP2010020007A | JP5172508B2 | KR101171414B1 | KR1020100006527A | TW201007316A | TWI420209B | US20100007838A1 | US7973900
简单同族成员数量:
8
简单同族被引用专利总数:
74
诉讼案件数:
0
法律状态/事件:
授权