首页
专利数据库
产业人才
行业动态
产业政策法规
维权援助
个人中心
登录/注册
详情
文本
图像
标题:
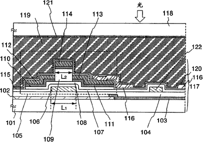
液晶显示器件及其制造方法
授权日:
1900-01-01
公开(公告)号:
CN1892387A
申请日:
2006-06-30
公开(公告)日:
2007-01-10
当前申请(专利权)人:
株式会社半导体能源研究所
发明人:
藤川最史 | 细谷邦雄
简单同族:
CN100565309C | CN101676779A | CN101676779B | CN1892387A | KR101258676B1 | KR1020070003572A | US20070002199A1
简单同族成员数量:
7
简单同族被引用专利总数:
58
诉讼案件数:
0
法律状态/事件:
未缴年费