标题:
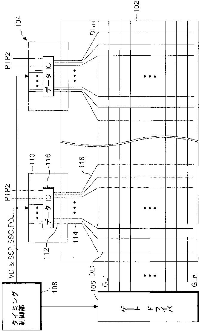
データ駆動集積回路及びその駆動方法とそれを利用した表示装置
授权日:
1900-01-01
公开(公告)号:
JP2005173592A
申请日:
2004-12-02
公开(公告)日:
2005-06-30
当前申请(专利权)人:
エルジー ディスプレイ カンパニー リミテッド
发明人:
宋 鴻 聲 | 姜 信 浩 | 洪 鎮 鉄
简单同族:
CN100428004C | CN1627142A | DE102004059157A1 | DE102004059157B4 | FR2863761A1 | FR2863761B1 | GB0425978D0 | GB2409095A | GB2409095B | JP2005173592A | JP4979888B2 | KR100598738B1 | KR100598739B1 | KR100598740B1 | KR100598741B1 | KR1020050058176A | KR1020050058177A | KR1020050058178A | KR1020050058179A | NL1027617A | NL1027617C | TW200521947A | TWI253623B | US20050128170A1 | US20090146940A1 | US7495648 | US9305480
简单同族成员数量:
27
简单同族被引用专利总数:
68
诉讼案件数:
0
法律状态/事件:
授权