首页
专利数据库
产业人才
行业动态
产业政策法规
维权援助
个人中心
登录/注册
详情
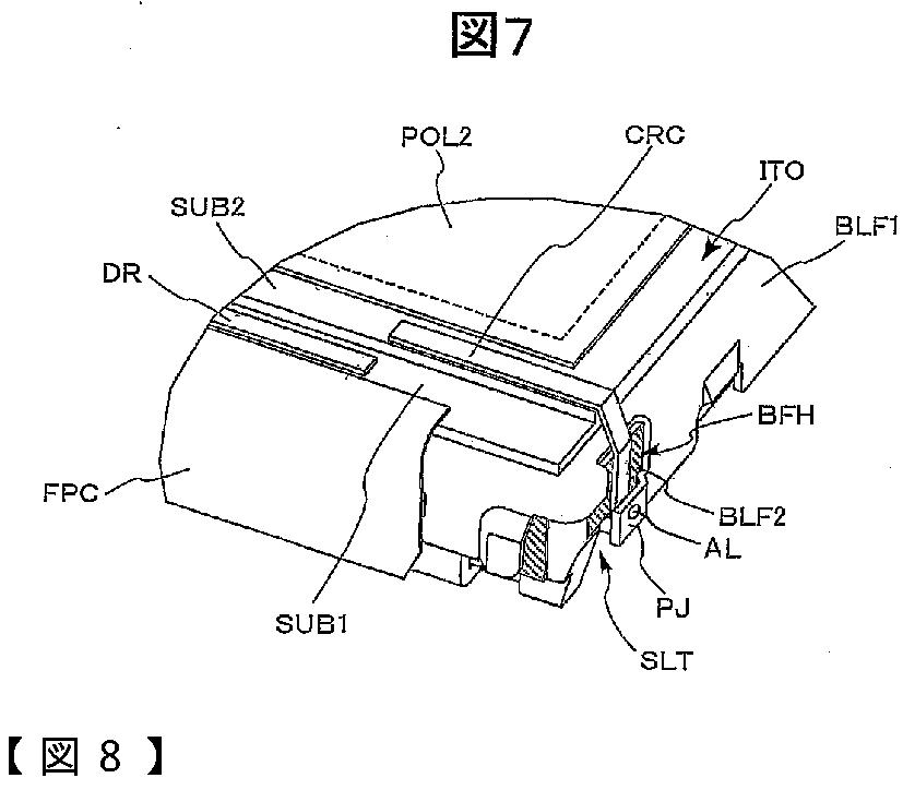
文本
图像
标题:
液晶表示装置
授权日:
2012-06-15
公开(公告)号:
JP5011469B2
申请日:
2007-07-31
公开(公告)日:
2012-08-29
当前申请(专利权)人:
株式会社ジャパンディスプレイイースト | パナソニック液晶ディスプレイ株式会社
发明人:
深山 憲久 | 前原 睦
简单同族:
JP2009036893A | JP5011469B2 | US20090033825A1 | US20110164196A1 | US7911555 | US8305513
简单同族成员数量:
6
简单同族被引用专利总数:
58
诉讼案件数:
0
法律状态/事件:
授权 | 权利转移