首页
专利数据库
产业人才
行业动态
产业政策法规
维权援助
个人中心
登录/注册
详情
文本
图像
标题:
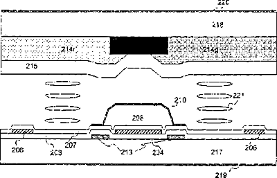
液晶显示装置
授权日:
1900-01-01
公开(公告)号:
CN1637567A
申请日:
2005-01-05
公开(公告)日:
2005-07-13
当前申请(专利权)人:
NLT科技股份有限公司
发明人:
今野隆之 | 西田真一 | 冈本守
简单同族:
CN100432810C | CN1637567A | HK1073502A | JP2005195927A | JP4174428B2 | KR100721221B1 | KR1020050073551A | TW200527096A | TWI319832B | US20050152230A1 | US7423716
简单同族成员数量:
11
简单同族被引用专利总数:
49
诉讼案件数:
0
法律状态/事件:
授权