首页
专利数据库
产业人才
行业动态
产业政策法规
维权援助
个人中心
登录/注册
详情
文本
图像
标题:
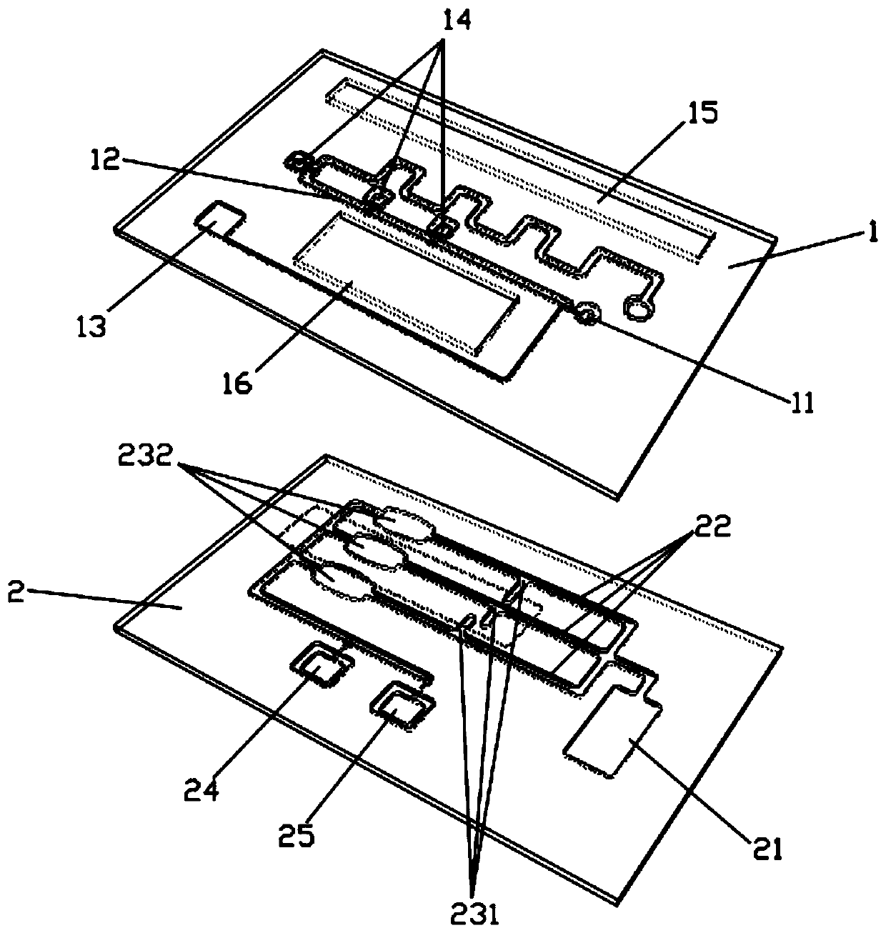
一种多标志物检测的磁微粒发光微流控芯片以及检测装置
授权日:
1900-01-01
公开(公告)号:
CN110794132A
申请日:
2019-10-11
公开(公告)日:
2020-02-14
当前申请(专利权)人:
深圳华迈兴微医疗科技有限公司
发明人:
王东 | 江荣香 | 范玉霞 | 陈泳鹏 | 李泉
简单同族:
CN110794132A
简单同族成员数量:
1
简单同族被引用专利总数:
0
诉讼案件数:
0
法律状态/事件:
实质审查