首页
专利数据库
产业人才
行业动态
产业政策法规
维权援助
个人中心
登录/注册
详情
文本
图像
标题:
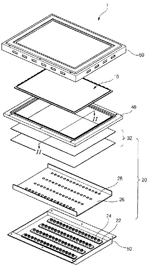
バックライトアセンブリ及びこれを利用した液晶表示装置モジュール
授权日:
2010-08-13
公开(公告)号:
JP4566958B2
申请日:
2006-07-28
公开(公告)日:
2010-10-20
当前申请(专利权)人:
エルジー ディスプレイ カンパニー リミテッド
发明人:
ホン ヘジュン | オウ ウィヨル
简单同族:
JP2007183560A | JP4566958B2 | KR101237788B1 | KR1020070070711A | US20070153515A1 | US8967822
简单同族成员数量:
6
简单同族被引用专利总数:
89
诉讼案件数:
0
法律状态/事件:
授权