首页
专利数据库
产业人才
行业动态
产业政策法规
维权援助
个人中心
登录/注册
详情
文本
图像
标题:
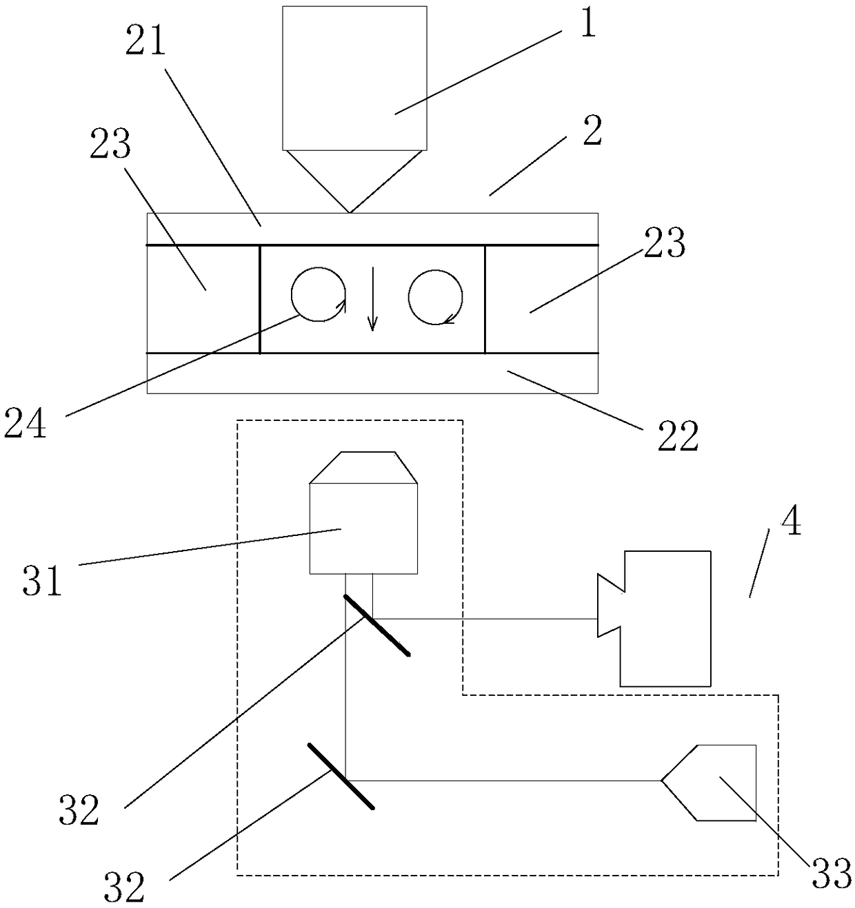
基于微球载体的粒子检测系统及方法
授权日:
1900-01-01
公开(公告)号:
CN108593910A
申请日:
2018-04-08
公开(公告)日:
2018-09-28
当前申请(专利权)人:
国家纳米科学中心
发明人:
孙佳姝 | 刘超 | 田飞
简单同族:
CN108593910A
简单同族成员数量:
1
简单同族被引用专利总数:
0
诉讼案件数:
0
法律状态/事件:
实质审查