首页
专利数据库
产业人才
行业动态
产业政策法规
维权援助
个人中心
登录/注册
详情
文本
图像
标题:
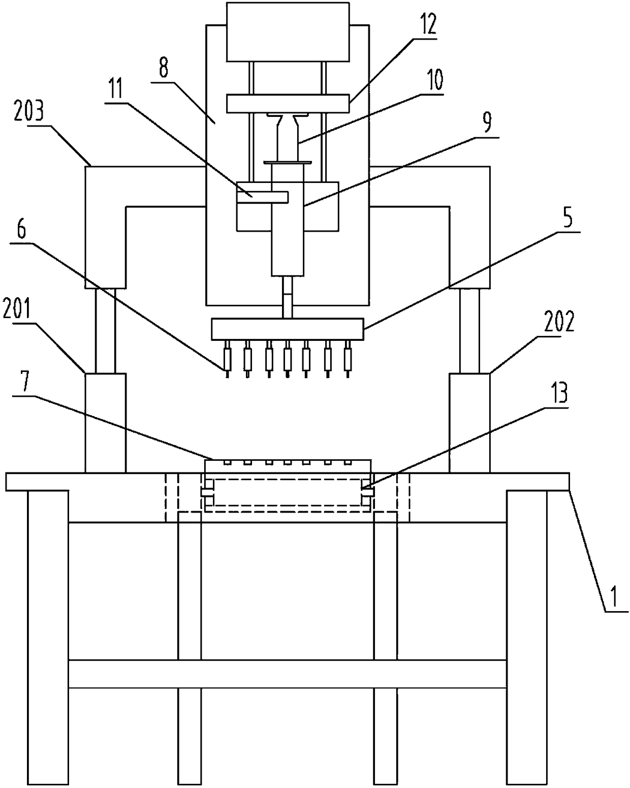
用于酶联免疫检测过程中的自动点样装置
授权日:
2018-10-19
公开(公告)号:
CN207992225U
申请日:
2018-02-12
公开(公告)日:
2018-10-19
当前申请(专利权)人:
新疆卡纳思生物技术有限公司
发明人:
戴震 | 左颖 | 谢超 | 马四桃
简单同族:
CN207992225U
简单同族成员数量:
1
简单同族被引用专利总数:
0
诉讼案件数:
0
法律状态/事件:
授权