首页
专利数据库
产业人才
行业动态
产业政策法规
维权援助
个人中心
登录/注册
详情
文本
图像
标题:
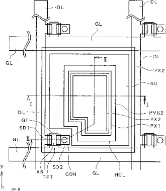
液晶显示器件
授权日:
2004-07-14
公开(公告)号:
CN1157630C
申请日:
2001-11-22
公开(公告)日:
2004-07-14
当前申请(专利权)人:
株式会社日本显示器
发明人:
小野记久雄 | 平方纯一 | 落合孝洋 | 桶隆太郎
简单同族:
CN1157630C | CN1354381A | JP2002162623A | JP4101454B2 | KR100439925B1 | KR1020020040601A | TW586043B | US20020047970A1 | US6798480
简单同族成员数量:
9
简单同族被引用专利总数:
60
诉讼案件数:
0
法律状态/事件:
授权 | 许可 | 权利转移