首页
专利数据库
产业人才
行业动态
产业政策法规
维权援助
个人中心
登录/注册
详情
文本
图像
标题:
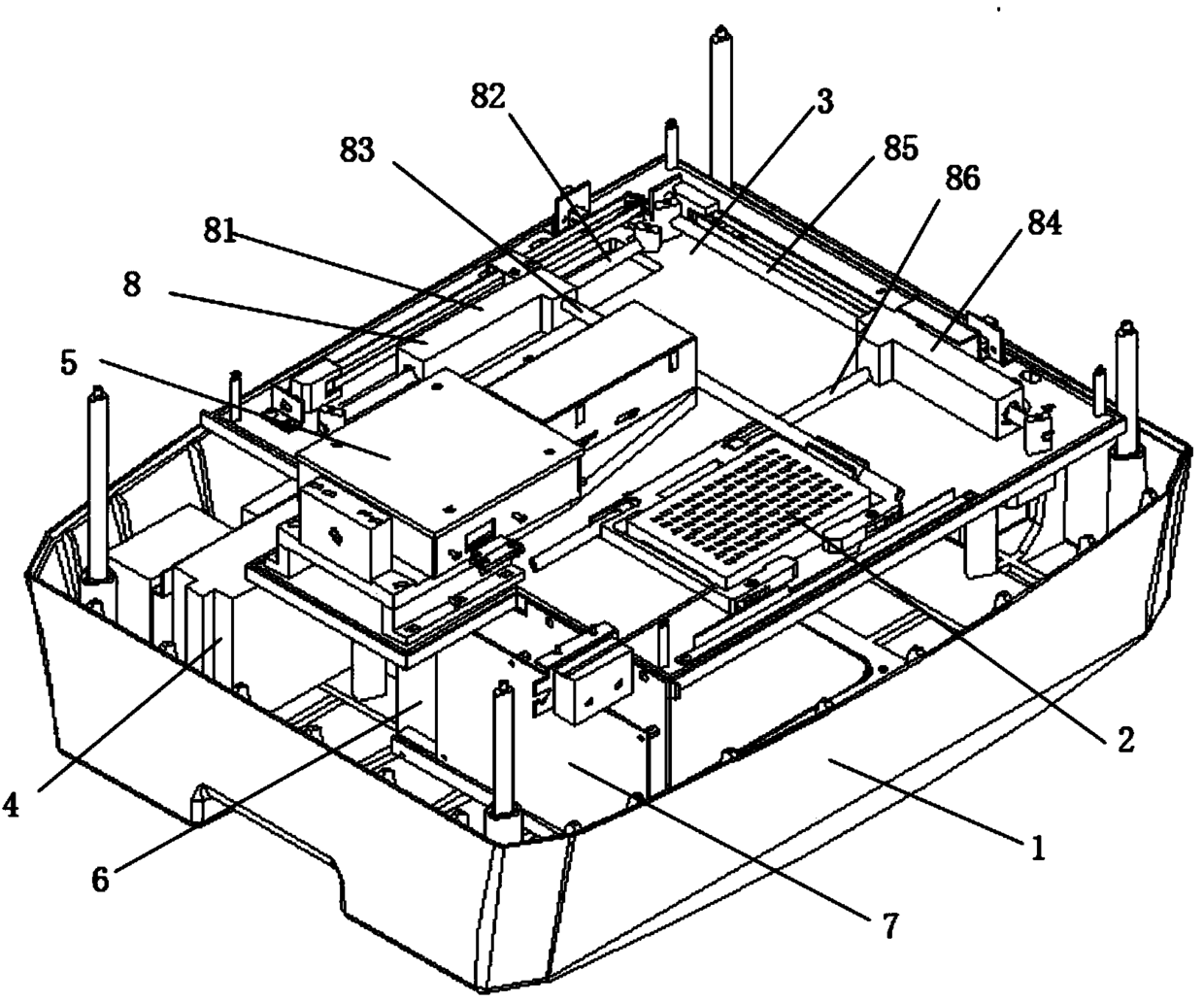
一种时间分辨荧光免疫分析仪
授权日:
2015-01-07
公开(公告)号:
CN204086274U
申请日:
2014-10-22
公开(公告)日:
2015-01-07
当前申请(专利权)人:
广州市达瑞生物技术股份有限公司
发明人:
李明 | 洪俊安 | 周诗寒 | 谢剑锋 | 区仲荣
简单同族:
CN204086274U
简单同族成员数量:
1
简单同族被引用专利总数:
1
诉讼案件数:
0
法律状态/事件:
授权