首页
专利数据库
产业人才
行业动态
产业政策法规
维权援助
个人中心
登录/注册
详情
文本
图像
标题:
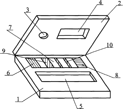
用免疫方法检测多种疾病的辅助器
授权日:
2007-08-22
公开(公告)号:
CN2938098Y
申请日:
2006-08-15
公开(公告)日:
2007-08-22
当前申请(专利权)人:
王玉雪
发明人:
王玉雪 | 贾心红 | 于革华 | 宋宝华
简单同族:
CN2938098Y
简单同族成员数量:
1
简单同族被引用专利总数:
0
诉讼案件数:
0
法律状态/事件:
未缴年费