首页
专利数据库
产业人才
行业动态
产业政策法规
维权援助
个人中心
登录/注册
详情
文本
图像
标题:
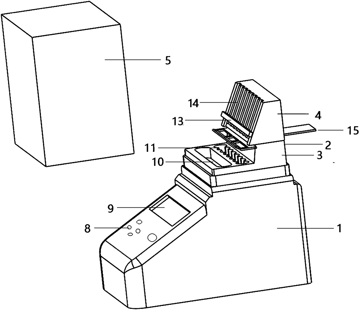
一种免疫层析试纸条恒温孵育器及孵育方法
授权日:
1900-01-01
公开(公告)号:
CN108414739A
申请日:
2018-04-18
公开(公告)日:
2018-08-17
当前申请(专利权)人:
武汉华美生物工程有限公司
发明人:
华权高 | 余箭翔 | 李诗焱 | 赵焕祥 | 徐学凯
简单同族:
CN108414739A
简单同族成员数量:
1
简单同族被引用专利总数:
0
诉讼案件数:
0
法律状态/事件:
实质审查