首页
专利数据库
产业人才
行业动态
产业政策法规
维权援助
个人中心
登录/注册
详情
文本
图像
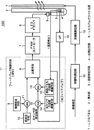
标题:
液晶表示装置
授权日:
1900-01-01
公开(公告)号:
JP2006276725A
申请日:
2005-03-30
公开(公告)日:
2006-10-12
当前申请(专利权)人:
NECディスプレイソリューションズ株式会社
发明人:
谷添 秀樹 | 木村 太郎 | 上野 弘 | 加藤 裕
简单同族:
CN100422823C | CN1841161A | EP1708164A2 | EP1708164A3 | EP1708164B1 | JP2006276725A | JP4612452B2 | US20060221047A1 | US8363001
简单同族成员数量:
9
简单同族被引用专利总数:
146
诉讼案件数:
0
法律状态/事件:
未缴年费 | 权利转移