首页
专利数据库
产业人才
行业动态
产业政策法规
维权援助
个人中心
登录/注册
详情
文本
图像
标题:
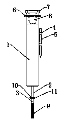
新型免疫亲和柱
授权日:
2015-08-05
公开(公告)号:
CN204522380U
申请日:
2015-03-26
公开(公告)日:
2015-08-05
当前申请(专利权)人:
河北伊莱莎生物技术有限公司
发明人:
刘建龙
简单同族:
CN204522380U
简单同族成员数量:
1
简单同族被引用专利总数:
1
诉讼案件数:
0
法律状态/事件:
授权