首页
专利数据库
产业人才
行业动态
产业政策法规
维权援助
个人中心
登录/注册
详情
文本
图像
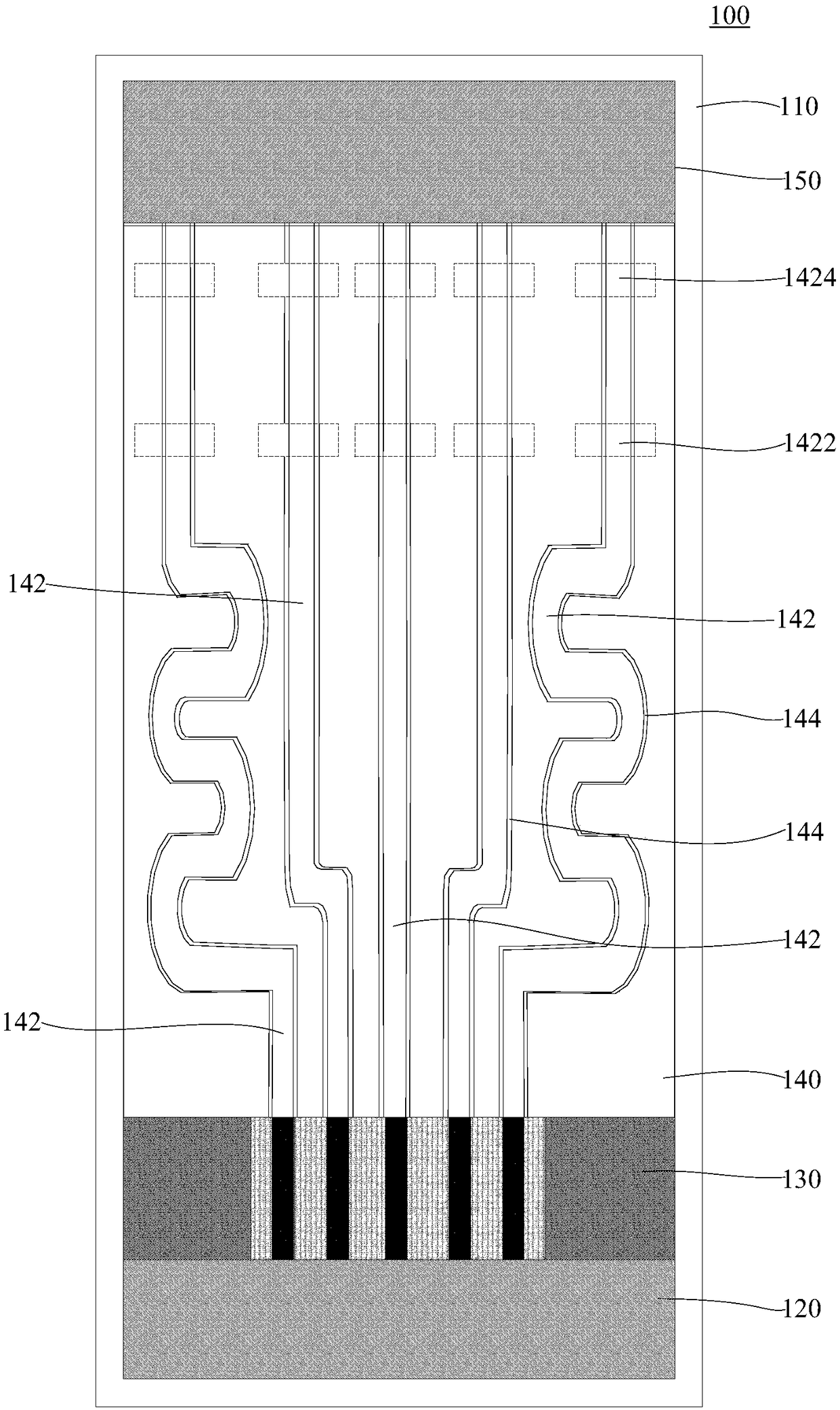
标题:
多通道免疫层析用标记垫和检测试剂卡
授权日:
2018-12-21
公开(公告)号:
CN208270584U
申请日:
2018-05-14
公开(公告)日:
2018-12-21
当前申请(专利权)人:
广州万孚生物技术股份有限公司
发明人:
杜嘉铭 | 黄岭芳 | 李凯 | 李文美
简单同族:
CN208270584U
简单同族成员数量:
1
简单同族被引用专利总数:
0
诉讼案件数:
0
法律状态/事件:
授权