首页
专利数据库
产业人才
行业动态
产业政策法规
维权援助
个人中心
登录/注册
详情
文本
图像
标题:
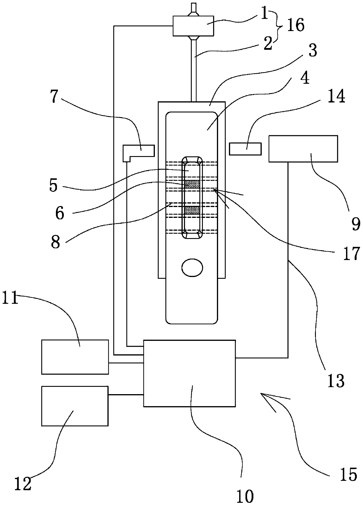
一种动态检测频率的荧光免疫试纸检测系统、方法及设备
授权日:
1900-01-01
公开(公告)号:
CN110726706A
申请日:
2019-10-25
公开(公告)日:
2020-01-24
当前申请(专利权)人:
杭州微策生物技术有限公司
发明人:
时凯强 | 顾晓华 | 徐婉 | 杨清刚
简单同族:
CN110726706A
简单同族成员数量:
1
简单同族被引用专利总数:
0
诉讼案件数:
0
法律状态/事件:
实质审查