首页
专利数据库
产业人才
行业动态
产业政策法规
维权援助
个人中心
登录/注册
详情
文本
图像
标题:
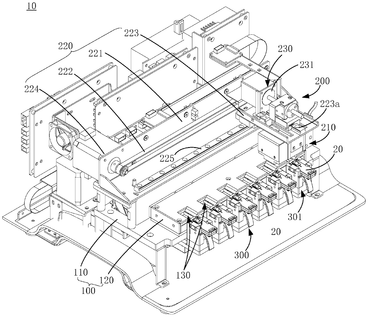
荧光免疫测试仪
授权日:
1900-01-01
公开(公告)号:
CN110007069A
申请日:
2019-03-05
公开(公告)日:
2019-07-12
当前申请(专利权)人:
深圳迎凯生物科技有限公司
发明人:
何太云 | 陈建平 | 张震
简单同族:
CN110007069A
简单同族成员数量:
1
简单同族被引用专利总数:
0
诉讼案件数:
0
法律状态/事件:
实质审查