首页
专利数据库
产业人才
行业动态
产业政策法规
维权援助
个人中心
登录/注册
详情
文本
图像
标题:
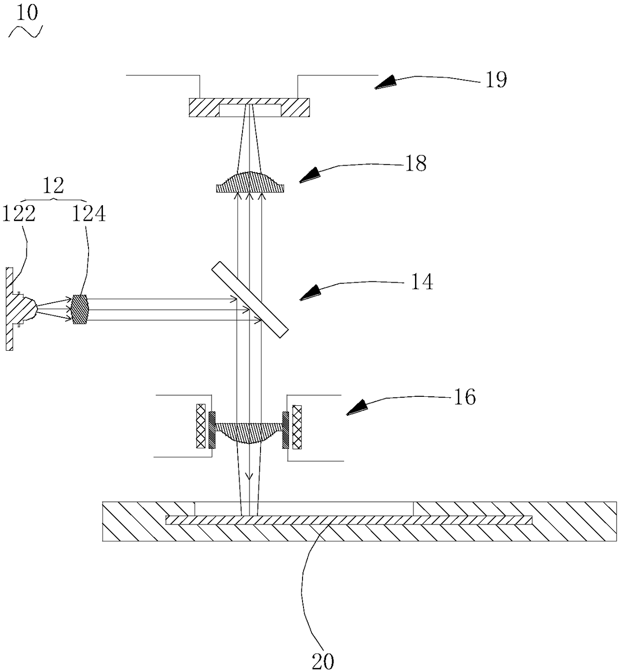
免疫荧光检测光路机构、免疫荧光检测仪及其校准方法
授权日:
1900-01-01
公开(公告)号:
CN108535471A
申请日:
2017-03-06
公开(公告)日:
2018-09-14
当前申请(专利权)人:
广州万孚生物技术股份有限公司
发明人:
黄仁宏 | 胡海升 | 王继华
简单同族:
CN108535471A
简单同族成员数量:
1
简单同族被引用专利总数:
1
诉讼案件数:
0
法律状态/事件:
实质审查