首页
专利数据库
产业人才
行业动态
产业政策法规
维权援助
个人中心
登录/注册
详情
文本
图像
标题:
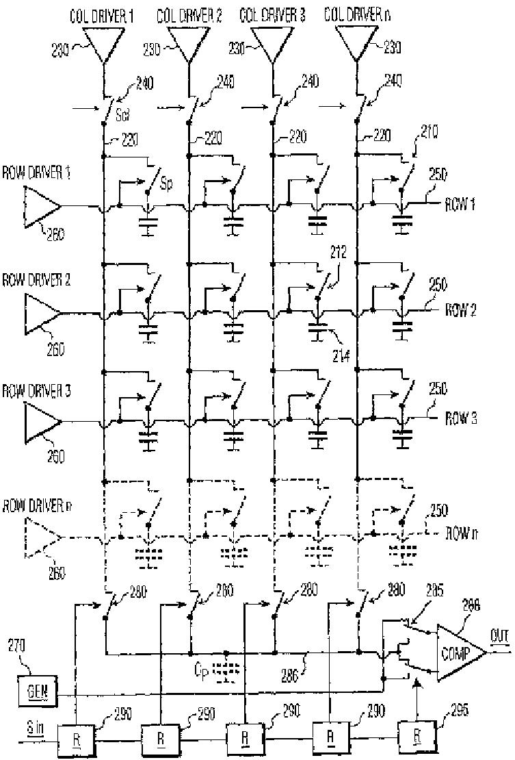
自己較正型画像表示装置
授权日:
1900-01-01
公开(公告)号:
JP2005502073A
申请日:
2002-07-12
公开(公告)日:
2005-01-20
当前申请(专利权)人:
コーニンクレッカ フィリップス エレクトロニクス エヌ ヴィ
发明人:
ジャンセン ピーター ジェイ | アルブ ルシアン アール
简单同族:
CN1541388A | EP1435083A1 | JP2005502073A | KR1020040032906A | US20030034941A1 | US6795046 | WO2003017243A1 | WO2003017243A8
简单同族成员数量:
8
简单同族被引用专利总数:
54
诉讼案件数:
0
法律状态/事件:
撤回