首页
专利数据库
产业人才
行业动态
产业政策法规
维权援助
个人中心
登录/注册
详情
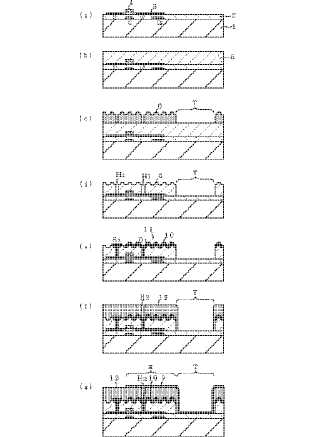
文本
图像
标题:
半透過型液晶表示装置
授权日:
1900-01-01
公开(公告)号:
JP2002162645A
申请日:
2000-11-28
公开(公告)日:
2002-06-07
当前申请(专利权)人:
ソニー株式会社
发明人:
藤野 昌宏
简单同族:
JP2002162645A | KR100845414B1 | KR1020020021332A | TWI257507B | US20020176029A1 | US20030169382A1 | US6809785 | US6975375
简单同族成员数量:
8
简单同族被引用专利总数:
106
诉讼案件数:
0
法律状态/事件:
实质审查