首页
专利数据库
产业人才
行业动态
产业政策法规
维权援助
个人中心
登录/注册
详情
文本
图像
标题:
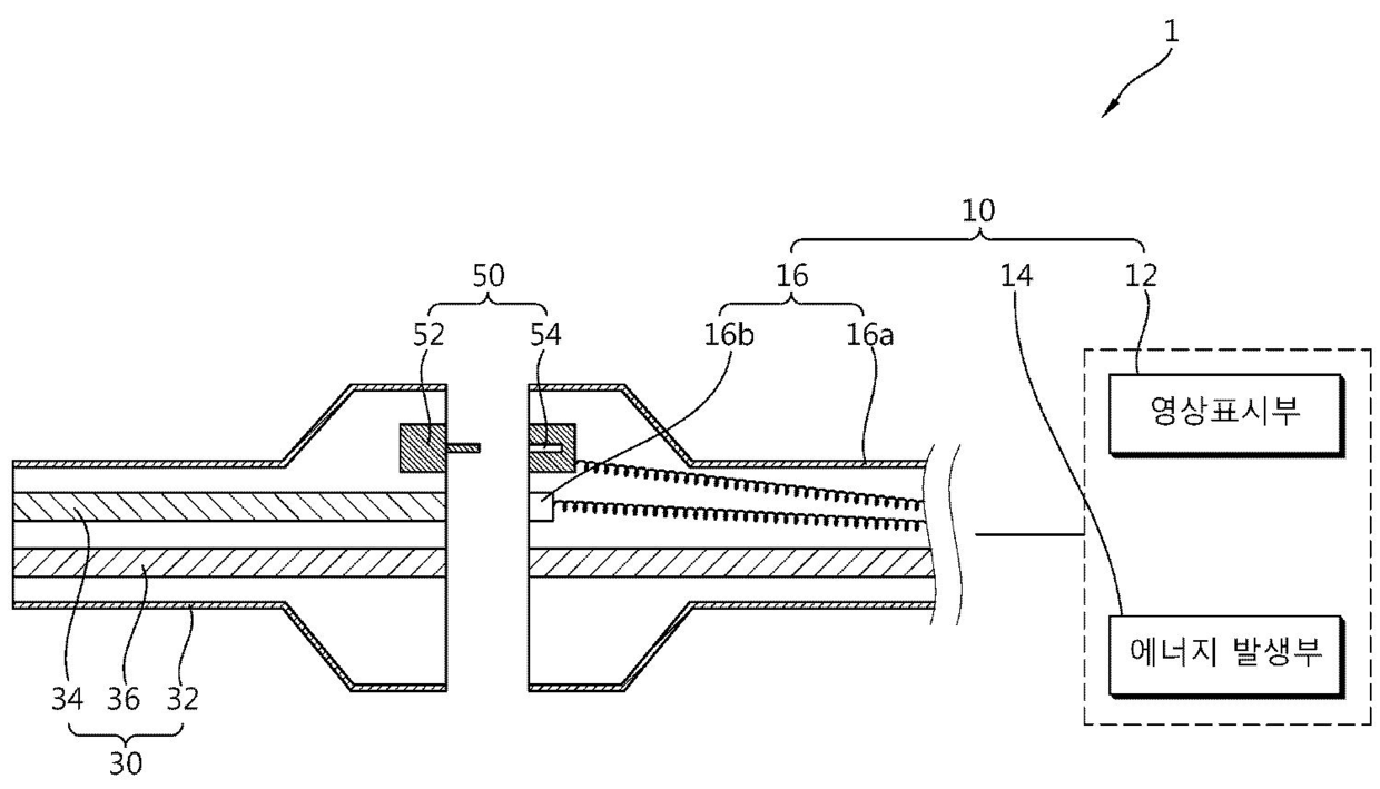
는 상호 통전되지 않는다. 이렇게, 제1차단부(52)와 제2차단부
授权日:
2013-09-27
公开(公告)号:
KR101314573B1
申请日:
2012-03-27
公开(公告)日:
2013-10-07
当前申请(专利权)人:
주식회사 루트로닉
发明人:
KO KWANG CHON
简单同族:
KR101314573B1
简单同族成员数量:
1
简单同族被引用专利总数:
2
诉讼案件数:
0
法律状态/事件:
授权