首页
专利数据库
产业人才
行业动态
产业政策法规
维权援助
个人中心
登录/注册
详情
文本
图像
标题:
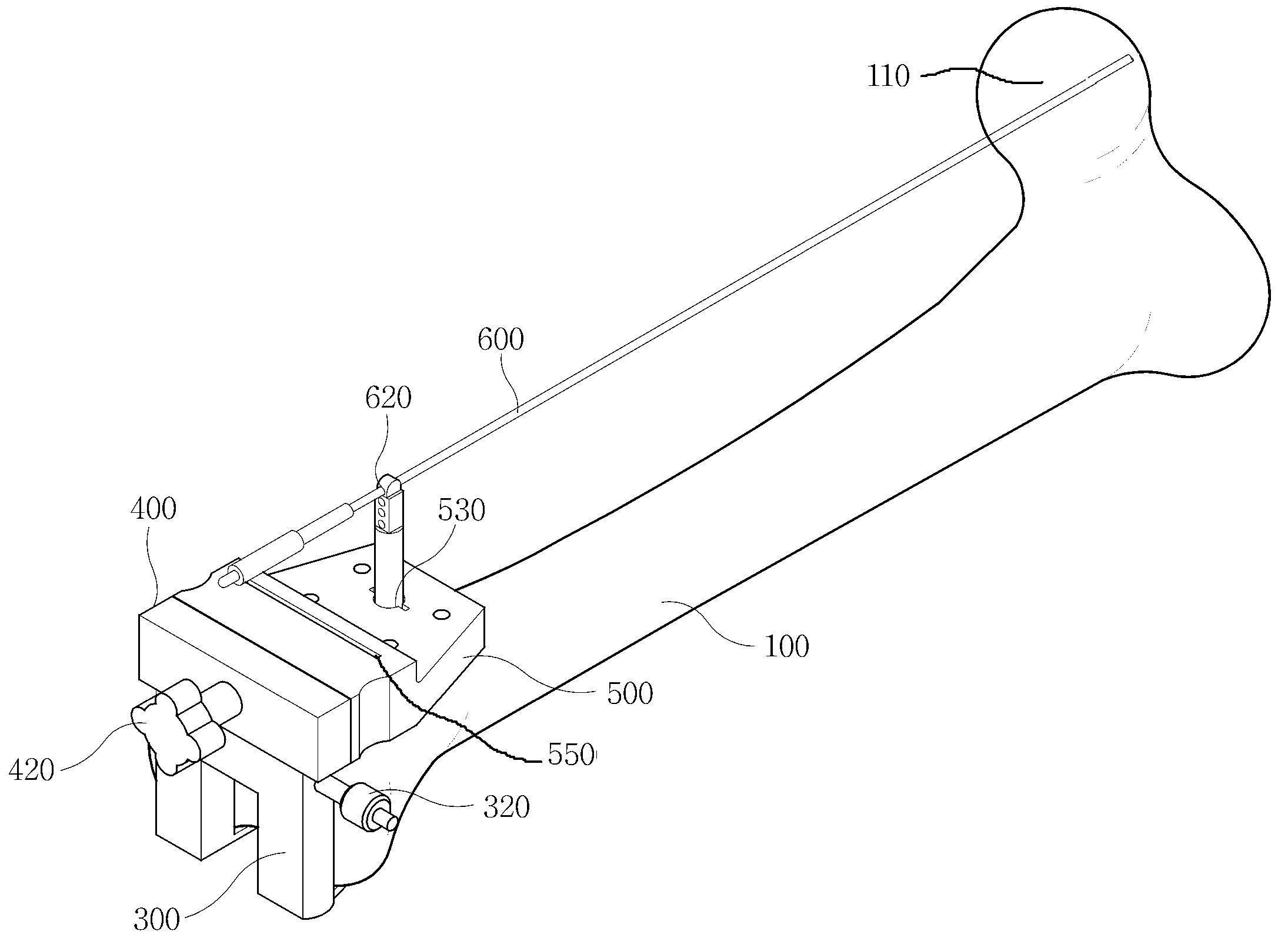
무릎관절 외과 수술용 절단 가이드 모듈 및 그 사용방법
授权日:
1900-01-01
公开(公告)号:
KR1020080113960A
申请日:
2007-06-26
公开(公告)日:
2008-12-31
当前申请(专利权)人:
이송
发明人:
LEE SONG
简单同族:
KR100925282B1 | KR1020080113960A
简单同族成员数量:
2
简单同族被引用专利总数:
18
诉讼案件数:
0
法律状态/事件:
授权