首页
专利数据库
产业人才
行业动态
产业政策法规
维权援助
个人中心
登录/注册
详情
文本
图像
标题:
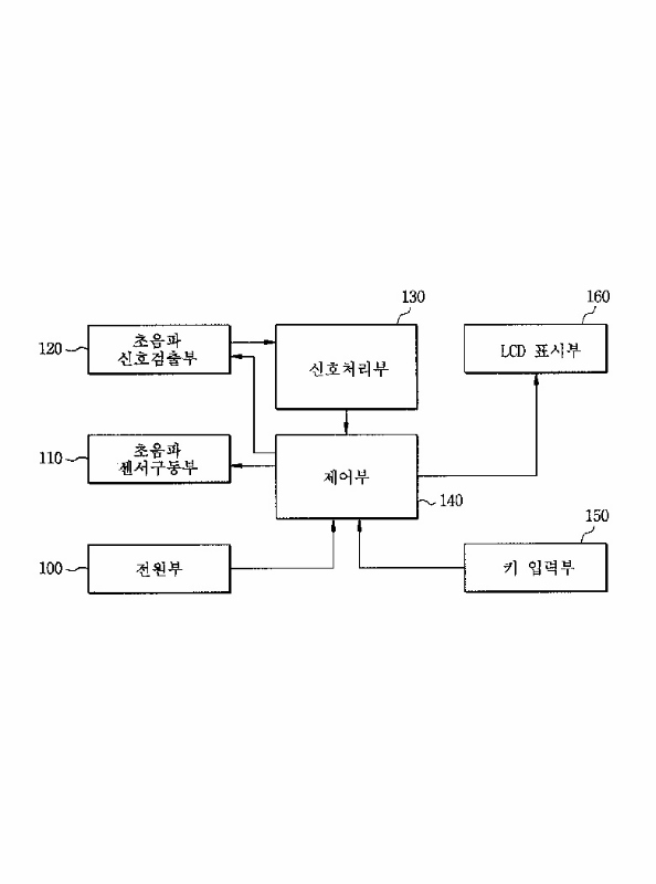
초음파 골밀도 측정기 및 그 측정방법
授权日:
1900-01-01
公开(公告)号:
KR1020020064239A
申请日:
2002-06-26
公开(公告)日:
2002-08-07
当前申请(专利权)人:
주식회사 휴먼테크피아 | 최흥호
发明人:
최흥호
简单同族:
KR100504710B1 | KR1020020064239A
简单同族成员数量:
2
简单同族被引用专利总数:
2
诉讼案件数:
0
法律状态/事件:
未缴年费