首页
专利数据库
产业人才
行业动态
产业政策法规
维权援助
个人中心
登录/注册
详情
文本
图像
标题:
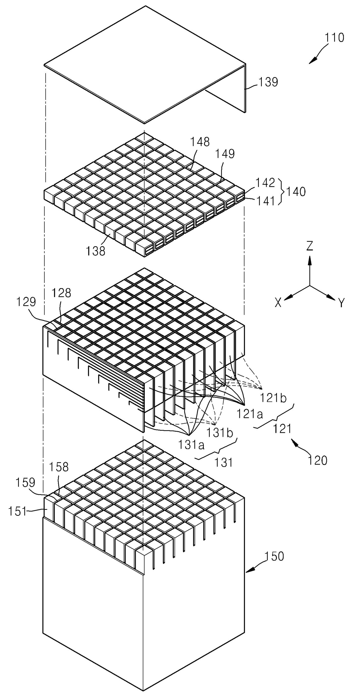
발명의 명칭 초음파 트랜스듀서, 초음파 프로브, 및 초음파 진단장치
授权日:
1900-01-01
公开(公告)号:
KR1020130119205A
申请日:
2012-04-23
公开(公告)日:
2013-10-31
当前申请(专利权)人:
삼성전자주식회사
发明人:
고현필 | 이종목
简单同族:
CN103371850A | CN103371850B | EP2844997A1 | EP2844997A4 | EP2844997B1 | KR101336246B1 | KR1020130119205A | US20130281857A1 | US9408589 | WO2013162153A1
简单同族成员数量:
10
简单同族被引用专利总数:
8
诉讼案件数:
0
法律状态/事件:
授权