首页
专利数据库
产业人才
行业动态
产业政策法规
维权援助
个人中心
登录/注册
详情
文本
图像
标题:
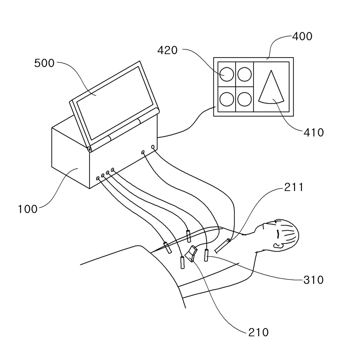
초음파 영상장치와 복강경 내시경을 결합한 최소절개 수술 장치
授权日:
1900-01-01
公开(公告)号:
KR1020100036420A
申请日:
2008-09-30
公开(公告)日:
2010-04-08
当前申请(专利权)人:
주식회사 바이오넷
发明人:
강동주 | 계상범 | 김기덕 | 박성우 | 이영배 | 이효진
简单同族:
KR101070663B1 | KR1020100036420A
简单同族成员数量:
2
简单同族被引用专利总数:
5
诉讼案件数:
0
法律状态/事件:
授权