首页
专利数据库
产业人才
行业动态
产业政策法规
维权援助
个人中心
登录/注册
详情
文本
图像
标题:
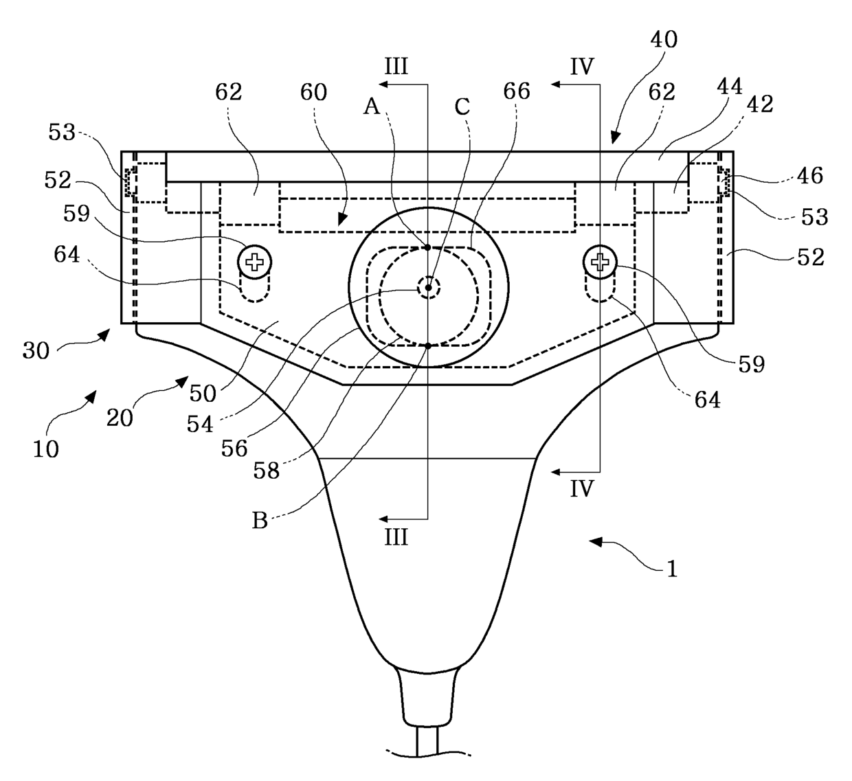
각도조절이 가능한 압박장치를 가지는 초음파 프루브
授权日:
2007-01-15
公开(公告)号:
KR100671906B1
申请日:
2005-07-08
公开(公告)日:
2007-01-22
当前申请(专利权)人:
삼성메디슨 주식회사
发明人:
김성래 | 김철안
简单同族:
KR100671906B1 | KR1020070006311A
简单同族成员数量:
2
简单同族被引用专利总数:
0
诉讼案件数:
0
法律状态/事件:
未缴年费