首页
专利数据库
产业人才
行业动态
产业政策法规
维权援助
个人中心
登录/注册
详情
文本
图像
标题:
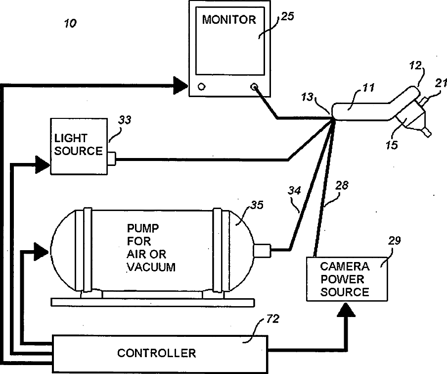
Hair extraction device and method for its use
授权日:
1900-01-01
公开(公告)号:
US20080033455A1
申请日:
2006-08-03
公开(公告)日:
2008-02-07
当前申请(专利权)人:
RASSMAN WILLIAM R | PAK JAE P
发明人:
RASSMAN, WILLIAM R. | PAK, JAE P.
简单同族:
US20080033455A1
简单同族成员数量:
1
简单同族被引用专利总数:
56
诉讼案件数:
0
法律状态/事件:
撤回