首页
专利数据库
产业人才
行业动态
产业政策法规
维权援助
个人中心
登录/注册
详情
文本
图像
标题:
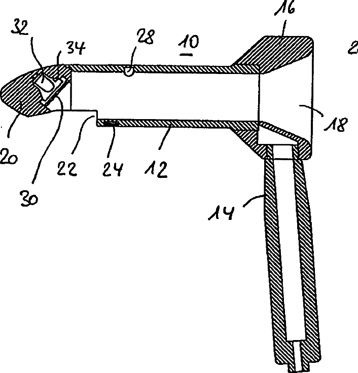
Proctoscope
授权日:
1900-01-01
公开(公告)号:
US20050234299A1
申请日:
2003-07-08
公开(公告)日:
2005-10-20
当前申请(专利权)人:
COMPUMEDICS GERMANY GMBH
发明人:
EITENMULLER, JURGEN | BRIELMAYER-POMINO, HARALD
简单同族:
AU2003281251A1 | DE10231004A1 | EP1519676A1 | US20050234299A1 | WO2004004555A1
简单同族成员数量:
5
简单同族被引用专利总数:
51
诉讼案件数:
0
法律状态/事件:
撤回 | 权利转移