标题:
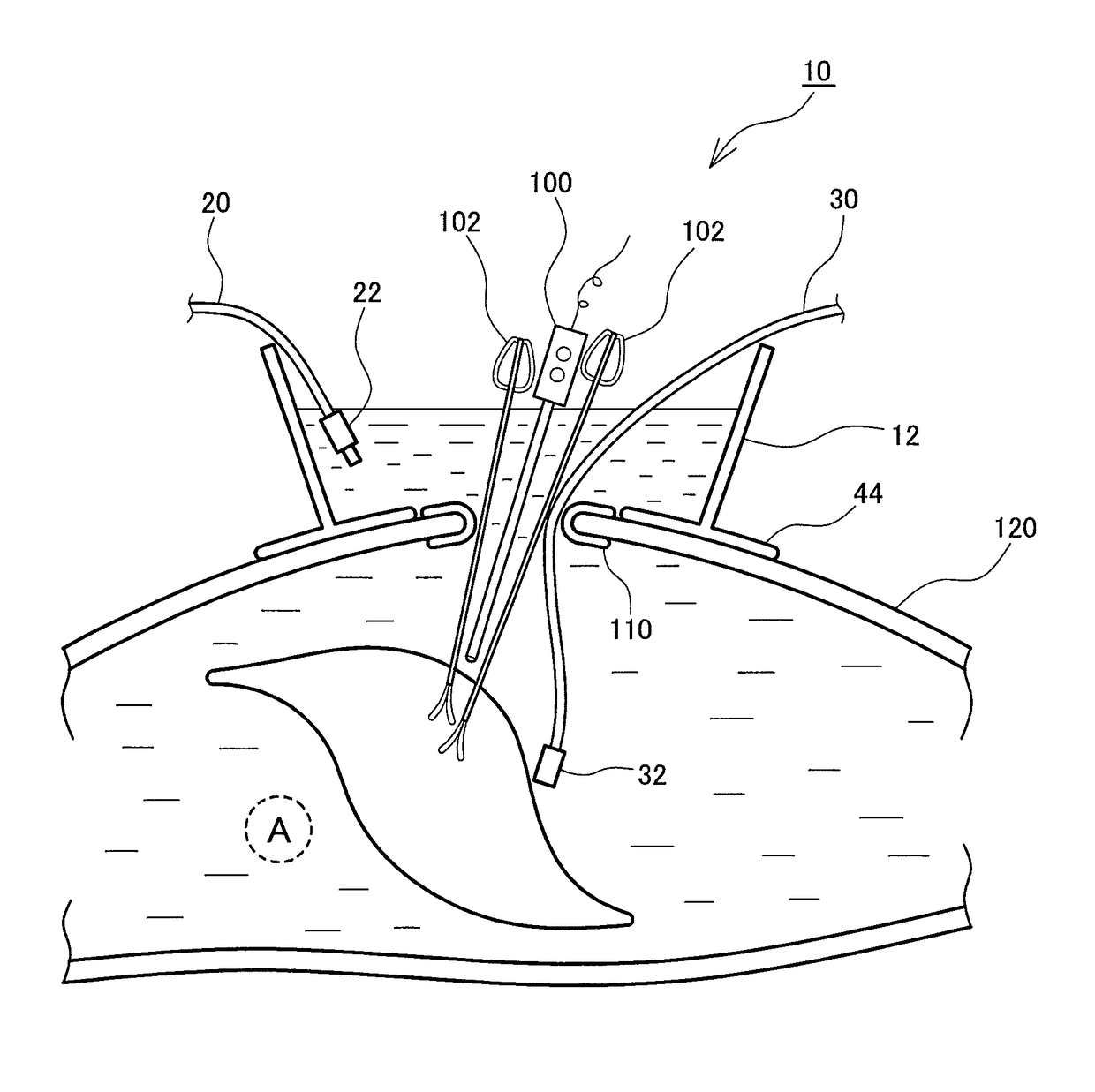
Body-wall-contact-type water tank and in-cavity fluid perfusion system
授权日:
2019-02-26
公开(公告)号:
US10213545
申请日:
2013-09-20
公开(公告)日:
2019-02-26
当前申请(专利权)人:
NIKKISO CO., LTD.
发明人:
TERANUMA, MASAYUKI | IGARASHI, TATSUO | SEKINE, MASASHI | NAYA, YUKIO | LU, RONGFU | NIIYAMA, MASANORI | KINOSHITA, YOSHIHIKO | ASANO, TAKUJI | KOSHIZUKA, MANAMI
简单同族:
CN104780851A | CN104780851B | EP2898835A1 | EP2898835A4 | EP2898835B1 | JP2014061132A | JP5504316B2 | US10213545 | US20150238682A1 | WO2014046249A1
简单同族成员数量:
10
简单同族被引用专利总数:
17
诉讼案件数:
0
法律状态/事件:
授权 | 权利转移