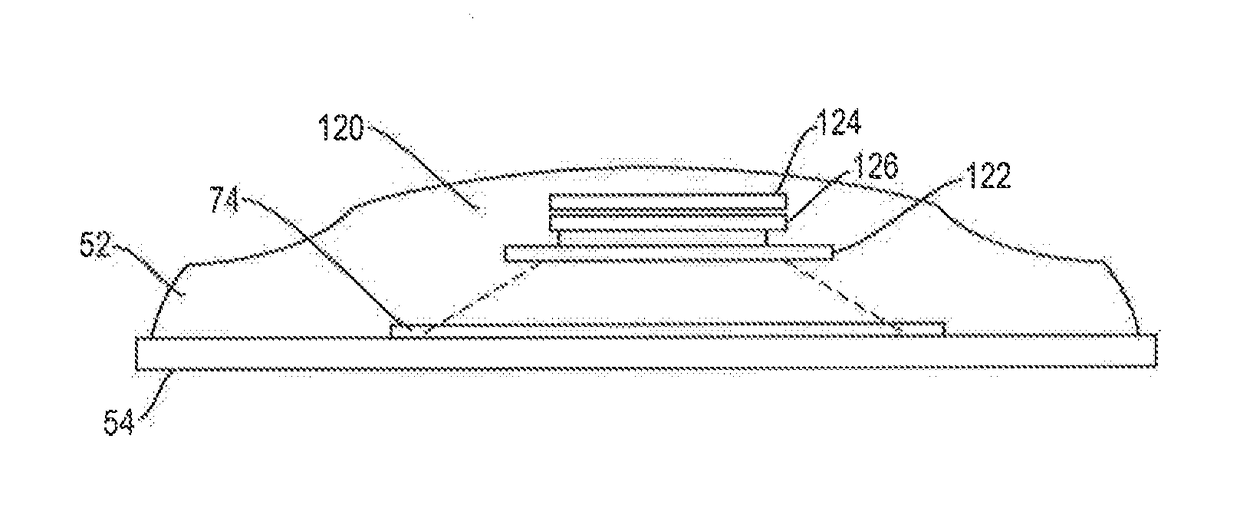
标题:
Sensor systems for skin graft harvesting
授权日:
1900-01-01
公开(公告)号:
US20190038303A1
申请日:
2018-06-06
公开(公告)日:
2019-02-07
当前申请(专利权)人:
KCI LICENSING, INC.
发明人:
PRATT, BENJAMIN A. | LOCKE, CHRISTOPHER BRIAN | ROBINSON, TIMOTHY MARK | HIGLEY, KEVIN | RANDOLPH, TAB | SANDERS, T. BLANE
简单同族:
EP3089682A1 | EP3089682B1 | EP3243453A1 | EP3243453B1 | EP3626188A1 | US20150182242A1 | US20190038303A1 | US9993261 | WO2015103043A1
简单同族成员数量:
9
简单同族被引用专利总数:
3
诉讼案件数:
0
法律状态/事件:
实质审查 | 权利转移