首页
专利数据库
产业人才
行业动态
产业政策法规
维权援助
个人中心
登录/注册
详情
文本
图像
标题:
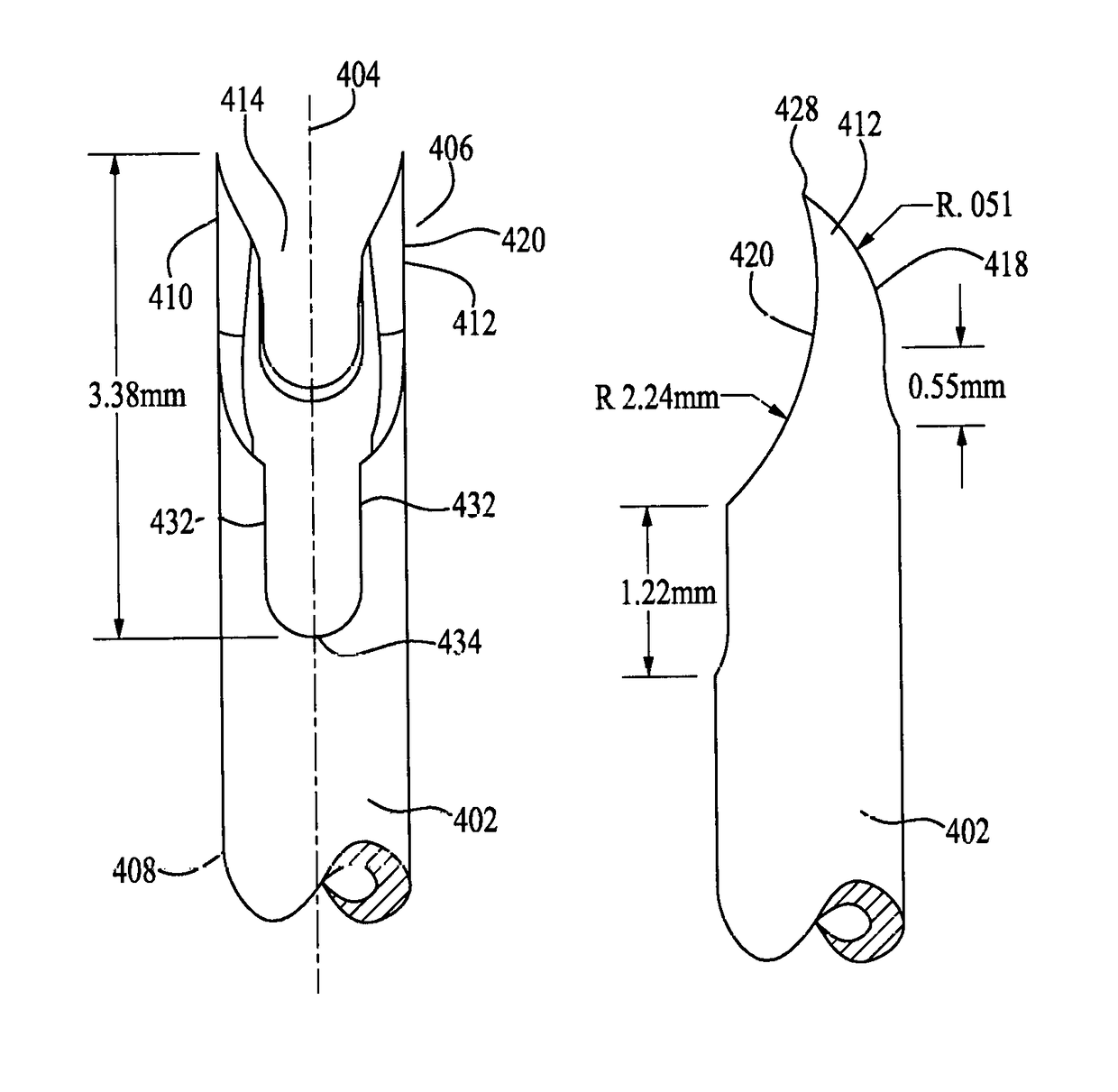
Follicle punch for use with curled follicles
授权日:
2018-12-25
公开(公告)号:
US10159508
申请日:
2014-05-13
公开(公告)日:
2018-12-25
当前申请(专利权)人:
UMAR, SANUSI
发明人:
UMAR, SANUSI
简单同族:
US10159508 | US20160249948A1
简单同族成员数量:
2
简单同族被引用专利总数:
2
诉讼案件数:
0
法律状态/事件:
授权