标题:
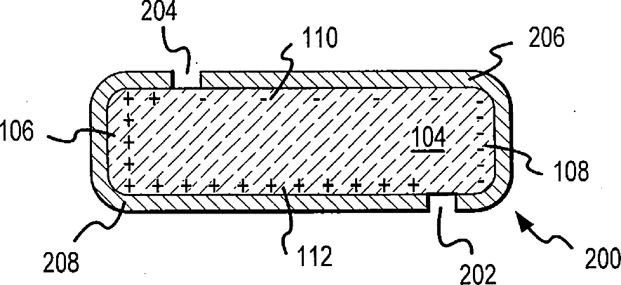
Multi-piezoelectric layer ultrasonic transducer for medical imaging
授权日:
1900-01-01
公开(公告)号:
US20030127947A1
申请日:
2003-01-24
公开(公告)日:
2003-07-10
当前申请(专利权)人:
PARALLEL DESIGN, INC.
发明人:
CHANDRAN, SANJAY | CHARTRAND, DAVID
简单同族:
AU2000027415A1 | EP1171919A1 | EP1171919A4 | HK1043434A | JP2002536858A | JP3610364B2 | US20030127947A1 | US6552471 | US6996883 | WO2000045445A1
简单同族成员数量:
10
简单同族被引用专利总数:
82
诉讼案件数:
0
法律状态/事件:
未缴年费 | 权利转移