首页
专利数据库
产业人才
行业动态
产业政策法规
维权援助
个人中心
登录/注册
详情
文本
图像
标题:
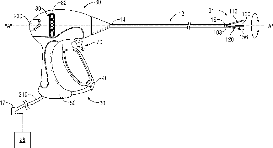
Surgical instrument with end-effector assembly including three jaw members
授权日:
1900-01-01
公开(公告)号:
US20150150581A1
申请日:
2014-11-20
公开(公告)日:
2015-06-04
当前申请(专利权)人:
COVIDIEN LP
发明人:
VAN TOL, DAVID J. | ROSS, ANTHONY B. | WASKIEWICZ, ALEXANDER M. | LARSON, ERIC R.
简单同族:
US20150150581A1 | US9987071
简单同族成员数量:
2
简单同族被引用专利总数:
2
诉讼案件数:
0
法律状态/事件:
授权 | 权利转移