标题:
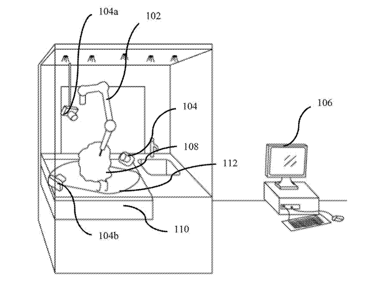
System and method for automated gross examination of tissues
授权日:
1900-01-01
公开(公告)号:
US20180348092A1
申请日:
2016-11-18
公开(公告)日:
2018-12-06
当前申请(专利权)人:
ATTILI VENKATA SATYA SURESH
发明人:
SURESH, ATTILI VENKATA SATYA | VUTUKURU, ANURADHA | SAMPARA, SRIKANTH SUNDARA
简单同族:
EP3376961A1 | EP3376961A4 | US20180348092A1 | WO2017085738A1
简单同族成员数量:
4
简单同族被引用专利总数:
0
诉讼案件数:
0
法律状态/事件:
实质审查