首页
专利数据库
产业人才
行业动态
产业政策法规
维权援助
个人中心
登录/注册
详情
文本
图像
标题:
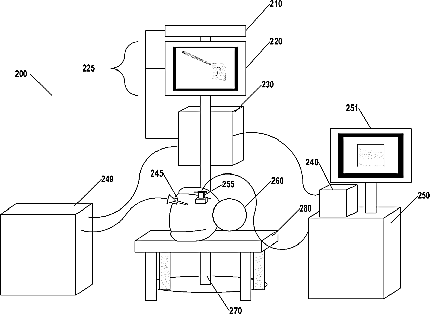
Image annotation in image-guided medical procedures
授权日:
1900-01-01
公开(公告)号:
US20140094687A1
申请日:
2013-10-07
公开(公告)日:
2014-04-03
当前申请(专利权)人:
INNEROPTIC TECHNOLOGY, INC.
发明人:
RAZZAQUE, SHARIF | STATE, ANDREI
简单同族:
US20110251483A1 | US20140094687A1 | US20160166334A1 | US8554307 | US9107698
简单同族成员数量:
5
简单同族被引用专利总数:
93
诉讼案件数:
0
法律状态/事件:
授权 | 权利转移