标题:
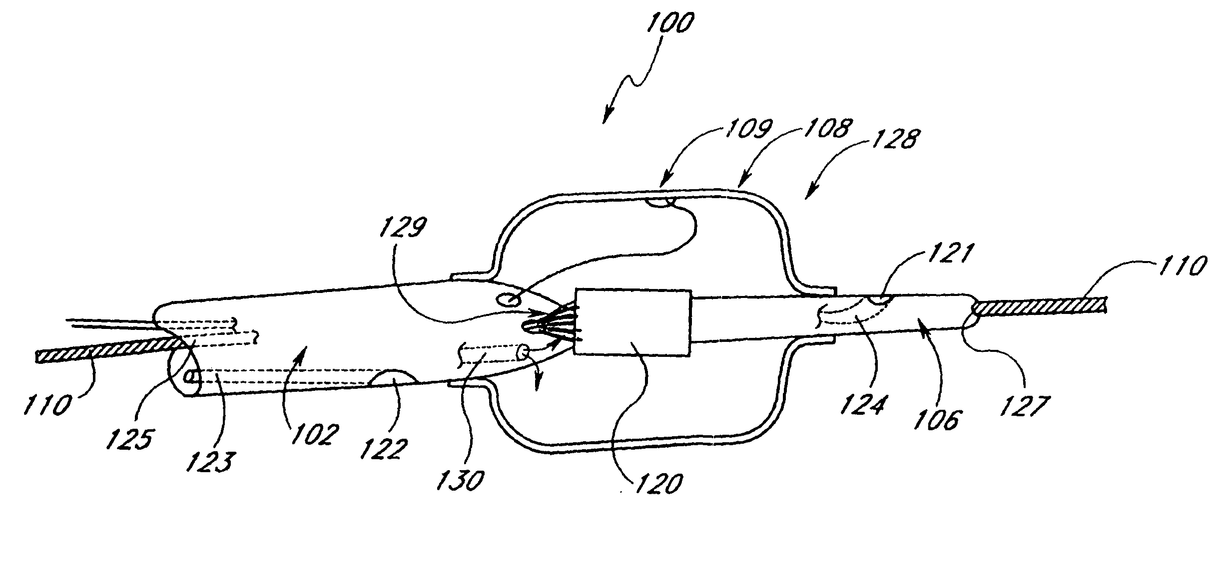
Method for making a spiral array ultrasound transducer
授权日:
1900-01-01
公开(公告)号:
US20050015953A1
申请日:
2003-07-21
公开(公告)日:
2005-01-27
当前申请(专利权)人:
BIOSENSE WEBSTER INC
发明人:
KEIDAR, YARON
简单同族:
AT510489T | AU2004258954A1 | AU2009238347A1 | AU2009238347B2 | CA2533212A1 | CA2533212C | EP1646309A2 | EP1646309A4 | EP1646309B1 | JP2006528888A | JP2006528888A5 | JP4685013B2 | US20050015953A1 | US7247269 | WO2005009219A2 | WO2005009219A3
简单同族成员数量:
16
简单同族被引用专利总数:
91
诉讼案件数:
0
法律状态/事件:
授权 | 权利转移