首页
专利数据库
产业人才
行业动态
产业政策法规
维权援助
个人中心
登录/注册
详情
文本
图像
标题:
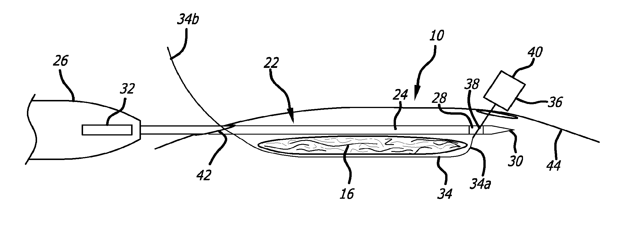
Method and apparatus for thread transection of a ligament
授权日:
1900-01-01
公开(公告)号:
US20160310162A1
申请日:
2016-07-01
公开(公告)日:
2016-10-27
当前申请(专利权)人:
GUO, JOSEPH
发明人:
GUO, JOSEPH
简单同族:
CN103371862A | HK1186951A | US20130289596A1 | US20160310162A1 | US9381033
简单同族成员数量:
5
简单同族被引用专利总数:
6
诉讼案件数:
0
法律状态/事件:
撤回