首页
专利数据库
产业人才
行业动态
产业政策法规
维权援助
个人中心
登录/注册
详情
文本
图像
标题:
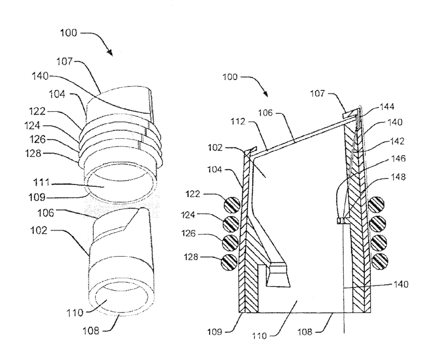
Tissue Resection Bander and Related Methods of Use
授权日:
1900-01-01
公开(公告)号:
US20170202430A1
申请日:
2017-04-03
公开(公告)日:
2017-07-20
当前申请(专利权)人:
BOSTON SCIENTIFIC SCIMED, INC.
发明人:
SMITH, PAUL | CARRILLO, JR., OSCAR
简单同族:
US20130172918A1 | US20150366577A1 | US20170202430A1 | US9155554 | US9629649 | US9872600
简单同族成员数量:
6
简单同族被引用专利总数:
16
诉讼案件数:
0
法律状态/事件:
授权