首页
专利数据库
产业人才
行业动态
产业政策法规
维权援助
个人中心
登录/注册
详情
文本
图像
标题:
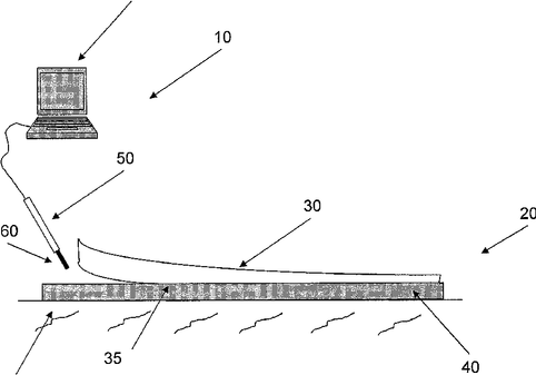
Method for ultrasonic dissection of tissues
授权日:
2016-03-08
公开(公告)号:
US9277933
申请日:
2011-07-27
公开(公告)日:
2016-03-08
当前申请(专利权)人:
LIFECELL CORPORATION
发明人:
JESSOP, ISRAEL JAMES | KIBALO, BENJAMIN T. | BARBIERI, ADRIAN F.
简单同族:
US20160143655A1 | US20190343543A1 | US9277933
简单同族成员数量:
3
简单同族被引用专利总数:
3
诉讼案件数:
0
法律状态/事件:
授权 | 质押 | 权利转移