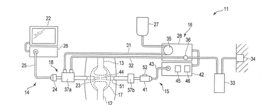
标题:
Ultrasonic treatment apparatus and ultrasonic treatment assembly
授权日:
1900-01-01
公开(公告)号:
US20180140872A1
申请日:
2018-01-22
公开(公告)日:
2018-05-24
当前申请(专利权)人:
OLYMPUS CORPORATION
发明人:
SAKAI, MASAHIRO
简单同族:
CN107205763A | CN107205765A | CN107205765B | CN107847256A | CN107920850A | EP3243467A1 | EP3243467A4 | EP3243468A1 | EP3243468A4 | EP3326559A1 | EP3326559A4 | EP3326560A1 | EP3326560A4 | JP6147440B1 | JP6147457B1 | JP6165389B2 | JPWO2017013813A1 | JPWO2017013815A1 | JPWO2017013886A1 | JPWO2017013887A1 | US20170367727A1 | US20180140275A1 | US20180140872A1 | US20180206879A1 | WO2017013813A1 | WO2017013814A1 | WO2017013815A1 | WO2017013886A1 | WO2017013887A1
简单同族成员数量:
29
简单同族被引用专利总数:
3
诉讼案件数:
0
法律状态/事件:
实质审查 | 权利转移