标题:
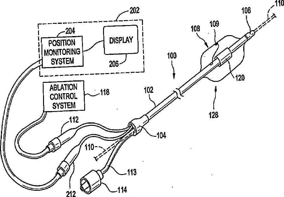
Ablation device with phased array ultrasound transducer
授权日:
1900-01-01
公开(公告)号:
US20060064081A1
申请日:
2005-09-13
公开(公告)日:
2006-03-23
当前申请(专利权)人:
ROSINKO MICHAEL
发明人:
ROSINKO, MICHAEL
简单同族:
AT511805T | AU2005310276A1 | AU2005310276B2 | CA2580353A1 | EP1791482A2 | EP1791482B1 | JP2008513056A | JP5220412B2 | MX2007002964A | US20060064081A1 | WO2006060053A2 | WO2006060053A3
简单同族成员数量:
12
简单同族被引用专利总数:
34
诉讼案件数:
0
法律状态/事件:
撤回