标题:
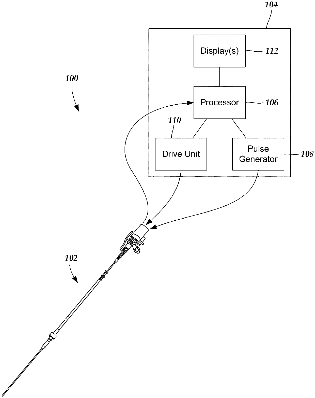
Systems and methods for selection and displaying of images using an intravascular ultrasound imaging system
授权日:
1900-01-01
公开(公告)号:
US20200121291A1
申请日:
2019-12-17
公开(公告)日:
2020-04-23
当前申请(专利权)人:
BOSTON SCIENTIFIC SCIMED, INC.
发明人:
CAI, ANMING HE | LI, WENGUANG | THOMAS, III, LEWIS J.
简单同族:
CN105530871A | CN105530871B | EP3043717A2 | EP3043717B1 | JP2016530043A | JP6192846B2 | US10561401 | US20150073279A1 | US20200121291A1 | WO2015038786A2
简单同族成员数量:
10
简单同族被引用专利总数:
6
诉讼案件数:
0
法律状态/事件:
公开