首页
专利数据库
产业人才
行业动态
产业政策法规
维权援助
个人中心
登录/注册
详情
文本
图像
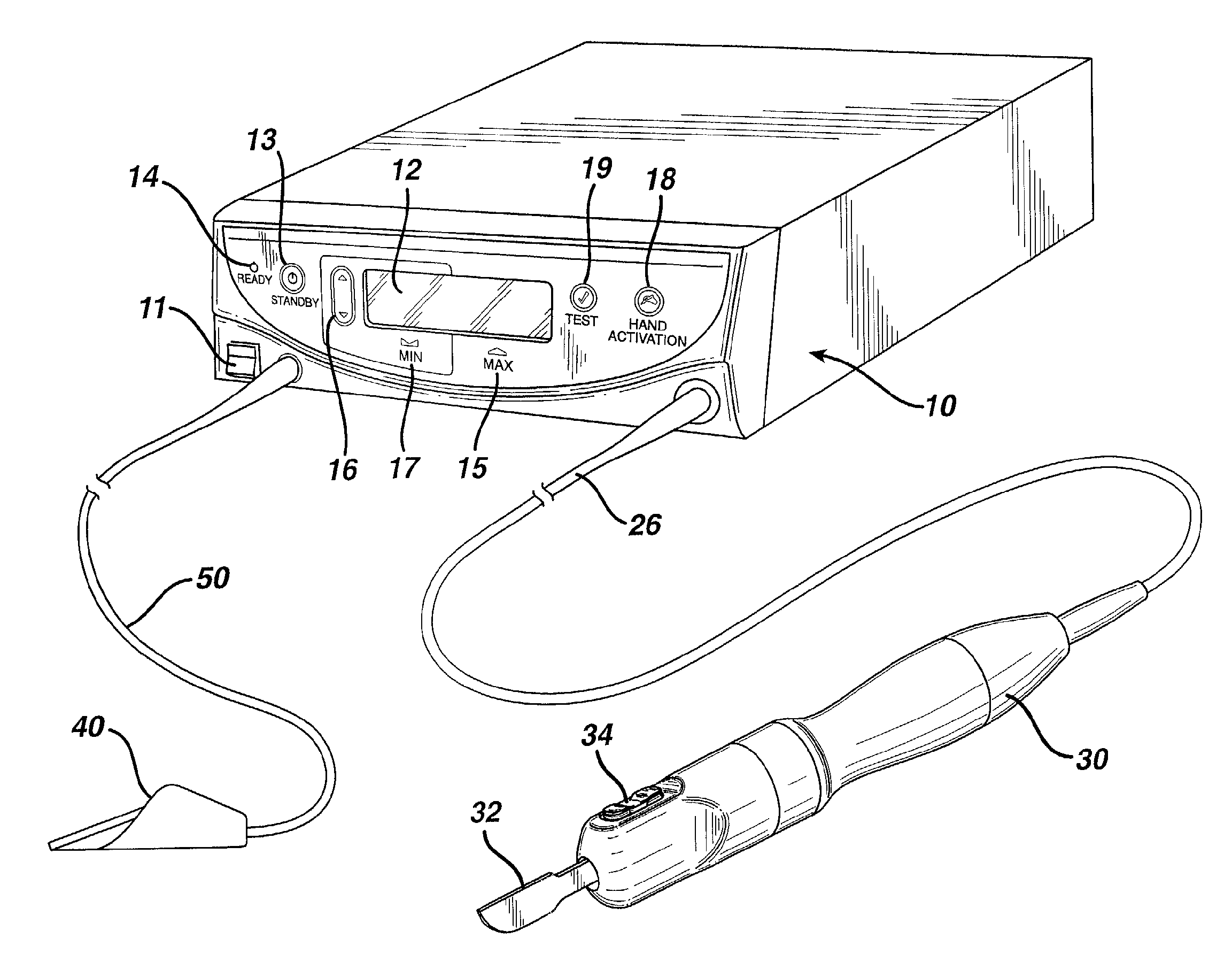
标题:
Ultrasonic surgical system
授权日:
1900-01-01
公开(公告)号:
US20100125292A1
申请日:
2008-11-20
公开(公告)日:
2010-05-20
当前申请(专利权)人:
WIENER EITAN T | DONOFRIO WILLIAM T
发明人:
WIENER, EITAN T. | DONOFRIO, WILLIAM T.
简单同族:
US20100125292A1
简单同族成员数量:
1
简单同族被引用专利总数:
56
诉讼案件数:
0
法律状态/事件:
撤回