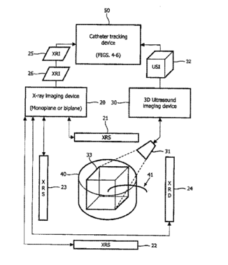
标题:
Visualization of catheter of three-dimensional ultrasound
授权日:
2018-06-12
公开(公告)号:
US9993304
申请日:
2012-01-10
公开(公告)日:
2018-06-12
当前申请(专利权)人:
KONINKLIJKE PHILIPS ELECTRONICS N V
发明人:
YAN, PINGKUN | PARTHASARATHY, VIJAY | MANZKE, ROBERT | JAIN, AMEET KUMAR
简单同族:
CN103313661A | CN103313661B | EP2663237A1 | EP2663237B1 | US20130281839A1 | US9993304 | WO2012095784A1
简单同族成员数量:
7
简单同族被引用专利总数:
10
诉讼案件数:
0
法律状态/事件:
授权 | 权利转移